Ущільнююче кільце, стержень клапана VICTOR REINZ 70-54282-00
Данная запчасть не подходит для выбранного автомобиля
требуется проверка по VIN коду, уточняйте совместимость у наших специалистов
требуется проверка по VIN коду, уточняйте совместимость у наших специалистов
|
82 ₴
78 ₴
завтра
|
- Производитель
-
VICTOR REINZ
(Германия)
- Каталожный номер
- 70-54282-00
- Схемы
- смотреть →
- EAN
- 4026635048176
Применяемость
- Товар подходит к маркам/моделям авто:
- - Ford: Ranger
- - KIA: Carens, Cerato, Clarus, Sephia, Shuma
- - Mazda: 3, 323, 5, 6, 626, BT-50, CX-7, MPV, Premacy
- Товарная группа:
- - Двигатель и Выхлоп Сальники клапанов
О производителе VICTOR REINZ
Страна : Германия
Victor Reinz — немецкие прокладки и уплотнители для двигателя и ГБЦ.
Victor Reinz — известный бренд, принадлежащий американской корпорации Dana Incorporated, который специализируется на производстве прокладок головки блока, маслостойких сальников, уплотнительных ремкомплектов, герметиков и других компонентов герметизации для всех типов ДВС.
Автозапчасти Victor Reinz поставляются на конвейеры (OEM) таких марок, как Mercedes-Benz, BMW, Audi, Opel, Ford, и широко используются в профессиональном ремонте.
Нужны прокладки ГБЦ или герметик Victor Reinz? Это выбор механіків у всьому світі.
Вас может заинтересовать
Аналоги "70-54282-00 VICTOR REINZ":
88
₴
- Артикул:
- 026.680
- ELRING
-
Германия
Высота [мм]: 18
Цвет: зеленый
Материал: FPM (Fluor-Kautschuk)
Внутренний диаметр: 10.8
Наружный диаметр [мм]: 25
Диаметр стержня клапана [мм]: 5.5
Классификационный код товара: 8484200000
Цвет: зеленый
Материал: FPM (Fluor-Kautschuk)
Внутренний диаметр: 10.8
Наружный диаметр [мм]: 25
Диаметр стержня клапана [мм]: 5.5
Классификационный код товара: 8484200000
44 ₴
завтра
- Артикул:
- 49472003
- CORTECO
-
Германия
Сторона установки: Передние
Для оригинального номера: 0KL0110155
Высота 1 [мм]: 6
Высота 2 [мм]: 10.2
Материал: FPM (Fluor-Kautschuk)
Наружный диаметр 1 [мм]: 11
Внутренний диаметр 1(мм): 6
Для оригинального номера: 0KL0110155
Высота 1 [мм]: 6
Высота 2 [мм]: 10.2
Материал: FPM (Fluor-Kautschuk)
Наружный диаметр 1 [мм]: 11
Внутренний диаметр 1(мм): 6
67 ₴
завтра
- Артикул:
- 49472002
- CORTECO
-
Германия
Для оригинального номера: 2222422000
Высота 1 [мм]: 6
Высота 2 [мм]: 10.2
Материал: FPM (Fluor-Kautschuk)
Наружный диаметр 1 [мм]: 11
Внутренний диаметр 1(мм): 6
Высота 1 [мм]: 6
Высота 2 [мм]: 10.2
Материал: FPM (Fluor-Kautschuk)
Наружный диаметр 1 [мм]: 11
Внутренний диаметр 1(мм): 6
62
₴
- Артикул:
- 019.140
- ELRING
-
Германия
Высота [мм]: 10.6
Материал: FPM (Fluor-Kautschuk)
Внутренний диаметр: 10.8
Наружный диаметр [мм]: 13.5
Диаметр стержня клапана [мм]: 6
Классификационный код товара: 8484200000
Материал: FPM (Fluor-Kautschuk)
Внутренний диаметр: 10.8
Наружный диаметр [мм]: 13.5
Диаметр стержня клапана [мм]: 6
Классификационный код товара: 8484200000
56
₴
- Артикул:
- 707.180
- ELRING
-
Германия
Высота [мм]: 10.3
Цвет: зеленый
Материал: FPM (Fluor-Kautschuk)
Внутренний диаметр: 10.8
Наружный диаметр [мм]: 13.6
Диаметр стержня клапана [мм]: 6
Классификационный код товара: 8484200000
Цвет: зеленый
Материал: FPM (Fluor-Kautschuk)
Внутренний диаметр: 10.8
Наружный диаметр [мм]: 13.6
Диаметр стержня клапана [мм]: 6
Классификационный код товара: 8484200000
72
₴
- Артикул:
- 864.110
- ELRING
-
Германия
Высота [мм]: 10.3
Материал: FPM (Fluor-Kautschuk)
Внутренний диаметр: 10.8
Наружный диаметр [мм]: 13.6
Диаметр стержня клапана [мм]: 6
Классификационный код товара: 8484200000
Материал: FPM (Fluor-Kautschuk)
Внутренний диаметр: 10.8
Наружный диаметр [мм]: 13.6
Диаметр стержня клапана [мм]: 6
Классификационный код товара: 8484200000
58
₴
- Артикул:
- 019.790
- ELRING
-
Германия
Высота [мм]: 11.9
Материал: FPM (Fluor-Kautschuk)
Внутренний диаметр: 12
Наружный диаметр [мм]: 15
Диаметр стержня клапана [мм]: 7
Классификационный код товара: 8484200000
Материал: FPM (Fluor-Kautschuk)
Внутренний диаметр: 12
Наружный диаметр [мм]: 15
Диаметр стержня клапана [мм]: 7
Классификационный код товара: 8484200000
54
₴
- Артикул:
- 707.170
- ELRING
-
Германия
Высота [мм]: 10.3
Цвет: черный
Материал: FPM (Fluor-Kautschuk)
Внутренний диаметр: 10.8
Наружный диаметр [мм]: 13.6
Диаметр стержня клапана [мм]: 6
Классификационный код товара: 8484200000
Цвет: черный
Материал: FPM (Fluor-Kautschuk)
Внутренний диаметр: 10.8
Наружный диаметр [мм]: 13.6
Диаметр стержня клапана [мм]: 6
Классификационный код товара: 8484200000
75
₴
- Артикул:
- 70-53678-00
- VICTOR REINZ
-
Германия
Материал: АСМ (полиакриловый каучук)
Смотреть все аналоги ↓
Применяемость по схемам
|
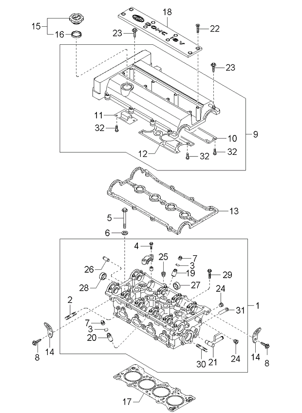
Распределительный вал и клапаны
(Рабочий объем двигателя: 1800 CC)(Двигатель: MPI-DOHC) |
|
|
|
головка цилиндров и крышка
(Рабочий объем двигателя: 1800 CC) Система клапанов (Рабочий объем двигателя: 2000 CC) |
|
|
|
головка цилиндров и крышка
(Двигатель: MPI-DOHC) |
|
|
|
головка цилиндров и крышка
(Рабочий объем двигателя: 1800 CC) |
|
|
|
головка цилиндров и крышка
|
|
|
|
головка цилиндров и крышка (01/02)
(Рабочий объем двигателя: 1800 CC)(Двигатель: MPI-DOHC) головка цилиндров и крышка (02/02) (Рабочий объем двигателя: 1800 CC)(Двигатель: MPI-DOHC) головка цилиндров и крышка (Рабочий объем двигателя: 1500 CC)(Двигатель: MPI-DOHC) |
|
Оригинальные номера
MOBIS:
0KL0210155
Motorcraft:
1449600
OEM:
1449600
KL0210155
